昊铂S600申报图发布 提供纯电版及增程版
阅读:49655
2025年12月09日

图片来源于网络,如有侵权,请联系删除
近日,昊铂S600申报图发布。新车定位大五座SUV。
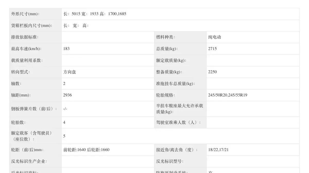
外观方面,新车和昊铂HL相似的风格,前脸分体式大灯采用两根水晶灯柱搭配双透镜大灯,车顶还配有激光雷达。在车尾,贯穿式尾灯搭配双竖状LED尾灯。车身尺寸方面,新车长宽高分别为5015*1933*1700(1685)mm,轴距2936mm。
动力方面,新车提供纯电版及增程版,前者最大功率为250kW。后者发动机最大功率118kW,纯电续航分别提供170km及180km。
